WSRB-J 手动润滑泵 (10MPa、20MPa)
WSRB-J型手动润滑泵结构新颖、设计先进、工艺合理、体形小巧,工作安全可靠,既能使用润滑油(稀油)也可使用润滑脂(干油),D型适用于单线递进式集中润滑系统,S型的具有换向阀可适用于双线集中润滑系统,用途广泛,是目前国内常用的手动润滑装置。
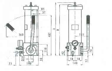
外观与外形尺寸

| 型号 |
公称压力 MPa |
给油量 ml/cyc |
贮油器容积 L |
重量 kg |
| WSRB-J7Z-2 | 10 | 7 | 2 | 18 |
| WSRB-J7Z-5 | 5 | 21 | ||
| WSRB-L3.5Z-2 | 20 | 3.5 | 2 | 18 |
| WSRB-L3.5Z-5 | 5 | 21 |
适用介质:公称压力为10MPa的手动润滑泵用粘度等级46~320cSt的润滑油;
公称压力为20MPa的手动润滑泵用针入度265~385(25℃,150g)1/10mm的润滑脂。
标志示例:公称压力为20MPa,给油量为3.5ml/循环,贮油器容积为5L,使用介质为润滑脂的手动润滑泵;
WSRB-L3.5Z-5 润滑泵参照JB/ZQ 4557-9
| 尺寸表dimension | ||
| 规格type | A | B |
| WSRBJ7Z-2 | 576 | 370 |
| WSRBJ7Z-5 | 1196 | 680 |
| WSRBL3.5Z2 | 576 | 370 |
Prev:WSGZ-8手动润滑泵(6.3MPa)
Next:WDSB-M定时润滑泵(35MPa)






